Picture by Rupert Fox from a design by Michael W. Alabaster

 

The Alabaster Chronicle

The Journal of the Alabaster Society

 

 

NUMBER TWENTY-SIX,  AUTUMN 2006

Contents


Editorial

by Sheelagh Alabaster - March 2006 

Thank you to everyone who sent in contributions to this issue. There is a great deal about Old Father William and his Book again – the bug has bitten even the youngest of our readers. We also have for you inventions and patented ideas devised by Alabasters, details of building repairs carried out in 1579 in Hadleigh, news from members’ families, and an appreciation of the work of a Shoreditch Guardian and new Broom. I am determined we should make a regular feature of including a big group photo containing one very famous person and one very Alabaster. There must be hundreds out there. Please send them in.

In the Secretary’s Pages this time Laraine reminds us that the next Gathering is starting to be planned for 2008. See page 2. We are delighted to report that our researcher in Italy discovered an impromptu Alabaster Gathering taking place earlier this year. See page... – no, I’m not going to do everything for you. Look for it yourself!

To Contents


News from Around the World

Collected by Laraine Hake

Firstly, a great big thank-you to Sheelagh for the splendid job she is making of editing the Chronicle. Remember, though, the Editor can only edit successfully if she is sent contributions -- so that is up to you!

After the last Chronicle, I received a splendid phone call from John Henry Alabaster (WofW). He said he had received Chronicle 25, looked at page 10, and seen the photograph of 97 Squadron Observers in May 1945, including himself on the front row – yes, John Henry is the “Flying Officer Alabaster” whose photograph appeared in the book “Achieve Your Aim”. Since then, John has contacted the publishers of the book and has been able to get in touch with two of the crew he was with in 1945; the Flight Engineer, Jim Davies, who had stayed on in the RAF and became a Wing Commander, and the pilot, who was Canadian and was transferred to the Royal Canadian Air Force at the end of the war and is now living in Vancouver. John was amazed and delighted.

Now – on a personal front, life is good! Our granddaughter Lily is two years old on 15th November and she has a sister (we think) due to be born next February, which is very exciting. I am still teaching three days a week, working a fourth day on SCITT, School Centred Initial Teacher Training, with one day off, which is great! A mere five years until retirement …what WILL I find to do with my time?

Next – it is now almost two years since the last Alabaster Gathering. I have been given the impression that most of you would like to continue with the three year cycle…. that takes us to April 2008. So, make a note in the back of your diary now…and transfer it when you get the new one. We have decided to hold this one, the 8th Alabaster Gathering, in the Guildhall, Hadleigh, as we did in 1992, 1993 and 1996. I am sure that this will be a popular decision as it featured so much in the lives of our Hadleigh ancestors.

Whilst on the subject of Gatherings, I attended the AGM of a club to which I belong in September (The New Chalet Club, should you be interested... Chalet School books … ).This AGM was held in St Botolph’s Church Hall, Bishopsgate Churchyard, less than five minutes’ walk from Liverpool Street Station, London. The main impetus for me attending this AGM was its venue and the fact that a tour of St Botolph’s was included in the programme for the day. Several Alabasters have had connections with this church:

Robert Alabaster (IIA) m Elizabeth Simpson 1781
William Alabaster m Ann Lucas 1798
Charles Henry Alabaster (IIA) m Sarah Mead 1819
John Alabaster (IIIB) m Mary Holt 1830
....and married Mary Ann Levy 1862
Jane Ann and Martha Alabaster (IV) daughters of Samuel West Alabaster were baptized here 1839 and 1840
....and his son Henry James Alabaster and wife Jane Ann (nee Tooley) were buried here in 1837 and 1848 respectively.

I really welcomed this opportunity, as you can imagine. So… it occurs to me that it would be an excellent venue for an additional Gathering – not to rival the one in Hadleigh, or even to be on similar lines, but interesting for many of us to meet up in London and see a different side to the lives of our Alabaster ancestors.

What I have in mind would be a one day event, not a full-blown weekend like Hadleigh, possibly for sharing information rather than the more formal talks. Perhaps we could produce some maps of Alabaster haunts in the local area if anybody wanted to go for a stroll – even if London no longer looks quite the same now.

So, over to you. To make it feasible, there would need to be at least 40 people interested in coming. If you are interested in a meeting at St Botolph’s, either for 2007 or 2009 onwards, let me know now. Then we can discuss the details.

One of the other “Alabaster” occurrences in my life during the past 6 months include helping a friend, Lianne, with her own family history only to discover that the registration of her gt gt grandfather, William Joshua Honour Clews on 28th July 1860 in the sub-district of Holywell, Shoreditch, was made to James Alabaster, Registrar. James Alabaster was the part-founder of the printers and publishers, Alabaster Passmore & Sons Ltd and the gt grandfather of Shirley Rowe. Since the person who made the registration was Lianne’s gt gt gt grandmother, Emma Clews, and James was the first cousin of my gt gt grandfather, Thomas Alabaster [James was thus my first cousin 4 times removed] Lianne and I can actually state that members of our families spoke to each other 146 years ago!

...and another occurrence was at a boot sale at Banham Zoo, Norfolk. On one stall, the inscription on a bottle caught my eye…ALABASTER. This is clearly a bottle produced by the Alabasters who bought out Batey & Co, in 1882, but I would think it pre-dates the one in pictured in Chronicle 19.

On the back it says:

THIS BOTTLE
IS THE PROPERTY OF
J & R.J.ALABASTER
CANAL ROAD. E.
NO DEPOSIT CHARGED

Needless to state, I bought the bottle, but I did have the cheek to haggle the price down from £2.50 to £2 !
 

Now to share some of the letters I have received from you:

John Henry Alabaster (WofW) Chigwell, 7th August 2006:
A friend of mine was at the South Wales Borderers Museum, Brecon, Powys, when he came across the medals of ex-Regimental Sgt Major George Alabaster. I have since obtained a copy of their records concerning the RSM. I think that they may be of interest to the Society.

John had included in his letter the various items sent to him by the museum following his enquiry. These included general details about George, the photograph and an obituary printed in The Journal of the South Wales Borderers and The Monmouthshire Regiment No.52, dated November 1957 as well as general details of the action in which the South Wales Borderers had been involved.

ALABASTER, George ‘Ally’, 4977
Born at Bethnal Green, London; trade – labourer; enlisted at London 6.8.1895 aged 19 years 2 months. During the Anglo-Boer war was detached from 2nd Battalion South Wales Borderers to serve with 2nd Battalion Mounted Infantry in South Africa; wounded at Stinkhoutboom 24.7.1900. Served as CQMS B Company 2nd Battalion South Wales Borderers in China in 1914 and in Gallipoli in 1915. Promoted Warrant Officer. Regimental Sergeant Major Depot, South Wales Borderers. Retired 1922. Died 6.9.1957

Medals: Queen’s South Africa Medal clasps Paardeberg, Driefontein, Johannesburg, Diamond Hill, Wittebergen, Relief of Kimberley; King’s South Africa Medal clasps South Africa 1901, South Africa 1902; 1914/15 Star; British War Medal; Victory Medal; Long Service and Good Conduct Medal (AO443/Oct 1921 as WO1 Royal Welch Fusiliers #38037); Meritorious Service Medal (Geo V).

Obituary
No 4977 Ex. R.S.M. GEORGE ALABASTER, died 6th September, 1957, aged 81 years. Interred at Tottenham Cemetery, London on 11th September, 1957.
Floral tributes were sent on behalf of Regimental Association and the London Branch. The Association was represented at the funeral by Manor H. Todman, Captain E.A. Hughes, Messrs. Chaplin, Makepeace, Riley W. and Vass, all of London Branch.
Alabaster joined the Regiment on 6th August, 1895, and was discharged in 1922 after 27 years of service. He served in South African War, being severely wounded on 24th July, 1901. Awarded both S. Africa Medals with clasps on Queen’s Medal for Relief of Kimberley, Paardeberg, Driefontein, Johannesburg, Diamond Hill and Wittenbergern
He also served through the First World War, being at Tsingtau 1914 and Gallipoli Landing 1915.
Alabaster had a long illness patiently borne and splendidly nursed by his wife. He had a stroke in June 1956 which caused his losing his speech. He was a founder member of the London Branch and, until his illness, a regular attendant at Branch Meetings. He will be missed by all his old comrades and the Regiment has lost a fine soldier, who, just before he died, signalled that he wanted to see his medals once again.
Farewell, “Ally”.

I was naturally thrilled to receive so much information about one of our antecedents and very grateful to John for having taken the time and interest to find out about this unknown, to him, Alabaster. I confess that I did not immediately check out specifically who George Alabaster was… in fact, I was fairly sure that I knew, but I was wrong.
John’s letter and George’s details remained on the pile on my desk for a while before I started to add the details to the Alabaster database. It was only when I entered George’s date of birth that I suddenly realized who George was – he was my very own gt uncle, the brother of my grandmother, Adeline Bertha Alabaster – so in fact George is the nearest male Alabaster to whom I am personally related.

Geoff Mansfield, (IIA) Christchurch, New Zealand 5th October 2006:
Happy to report I am now a great-grandad! Grandson Kieran and partner Nicole have produced a son, (born this morning) named Liam (second name under consideration now). Nicole doing well.

Congratulations to Geoff, Nicole and Kieran!

To Contents


Repairs to ‘The George’ in Hadleigh

by Tony Springall

We have known for several years, from Hadleigh records and a letter of 1600 from John Alabaster to his brother-in-law, that his father, Thomas Alabaster, leased ‘The George’ in Hadleigh from its copyhold owner, George Stoddard ‘of London’, during the last two decades of the 16th century. New information on this period of Alabaster custodianship, obscured in the PRO on-line catalogue over the years by the unusual spelling ‘Alibastar’ of the surname, has emerged in The National Archive at Kew.

Dating from 1579, a document lists the repairs made to ‘The George’ by Thomas. The two images shown below are reproductions of this document and are followed by an attempt at its transcription (for which corrections and suggestions would be welcome).

Repairs to the George in Hadleigh / Hadley
Repa~sions done at the George in Hadley by Thomas Alibastar
Bill for Repairs to The George in Hadley (Hadleigh, Suffolk)

? ? 1579
                Repara~ done of the George in Hadley(?)

first for S??day his work w[i]t[h] his ij men
iij dayes at ijs per daye to fynd the[m] selves (Note 1)
for tymber to amend the beams and stalles
one lode 
for a lode of tyll 
for a lode of sand 
for a tyler & his man one daye 
for Lyme
for Dawbyng of walles
for all the Rackes in the Stables wh[ich] I
bought of Lucas
                                                                                  Some

 
 
 
vjs
 
 vs
ixs         vjd
            viijd
           xiiijd 
            viijd
             xxd

iijs        iiijd
xxviijs 
 
 
  
( 6s) (Note 2)
 
( 5s)
( 4s  6d)
       (8d)
     (14d) 
       (8d)
     (20d)

( 3s  4d)
(28s 0d)  
  • Note 1. 'to find oneself: to provide for one`s own living or needs', The Shorter Oxford English Dictionary, 1972.
  • Note 2. For those not accustomed to pre-decimal money, 28s 0d, or £1 8s 0d, is equal to £1.40 in decimal currency, there being twelve pence to one shilling, and twenty shillings to the pound. This conversion takes no account of inflation, however!

The work carried out suggests that ‘The George’ was operating as an Inn by 1579 and, prior to the renovations, was in a bad state of repair. Perhaps Thomas Alabaster had recently leased the property and was getting it ‘shipshape’? The use of the first person in the last item suggests that the note was written by Thomas himself.

The ‘Lucas’ from whom Thomas bought the horse rack was probably John Lucas who paid his Subsidy in Hadleigh in 1543, 1552, 1568 and 1582. He is described as an ‘alien’ in 1543 and 1568 and as an ‘Alyaind’ and a ‘joyner’ in 1552. He was most likely the John Lucas who was buried in Hadleigh Church on 23rd June 1594.

The only candidate I can suggest for the incompletely transcribed surname in the first item is Edward Siday who married in Hadleigh on 22/7/1566 and paid taxes in the town in 1568 and 1582.

The document, which has the reference TNA, PRO, C4/49/64, provides no conclusive clues as to how it ended up in The National Archives. However, the TNA website http://www.nationalarchives.gov.uk/ notes that C4 documents ‘comprise a miscellaneous collection of bills, answers, replications, rejoinders, commissions and depositions which have become detached from their related documents.’
I have yet to find any related documents. Perhaps Thomas was involved in a court case concerned with the upkeep of the property?

Thank you so much for the article and photos. How exciting to find that. I especially like the Dawbyng of walles. I could have found him a gang of comprehensive school kids to do that bit of the schedule of works for absolutely nothing.    Ed.

To Contents


A Tribute to Elsie Alabaster

The funeral of Elsie Alabaster (IIIB), the last survivor of the five children of James Alabaster and Florence (known as Mitti), was held in Luton/Dunstable on Friday, 21st April 2006.

Martin Alabaster, her only nephew and next of kin, read the following tribute:

Of course we all have different memories of Elsie and I am very conscious that my own - of a loving, kind and independent aunt - only cover one point of view and the more recent years of her life. Elsie was the middle child of five and the last to be born in London before Mitti and Pop moved their family to Dunstable. Elsie Alabaster (IIIB)Elsie did tell me that Alan, my father, was born soon after her 5th birthday and so his arrival coincided with her being sent to school for the first time and she thought at first that this was because she was no longer wanted at home! She was approaching 15 when the war started and she joined the WRNS as soon as she was old enough and served for several years, particularly at HMS President alongside [her sister] Hazel, gaining her commission. Here she made many friends. At the end of the war, aged about 23, she returned to civilian life in Dunstable and started what was to turn out to be almost 30 years working at the local engineering firm of Bagshaws. Most significantly, she met - at the next desk - Phyllis, her greatest friend. They were so close in the office that Phyllis would prod Elsie with a ruler to get her attention. Their careers ran side by side and they ended up as heads of their respective sections. And of that time, Phyllis has said that Elsie was the best friend and confidante she could possibly have had and that they never exchanged a cross word, ever. Also over this time Elsie was a great support to her older sister. Ruby was often not in the best of health and had been deaf from quite a young age. So she greatly benefited from the support of Elsie who would always accompany her on trips out and to social events. Such was the way of Elsie's life for many years and her strength and good nature were always her prominent characteristics. Elsie Alabaster with RoryWith Hazel married and her parents getting older, Elsie increasingly became the pillar which held the family up and this was certainly true right through until the early 1970s when everything changed. In 1972 [her brother] Alan was killed in an accident and Pop, his and Elsie's father died only a few weeks later. Bagshaw`s closed and Elsie was made redundant, and then in 1978, Hazel and Mitti died in close succession only to be followed by Ruby the following year. And so, the final phase of her life - some 26 years’ worth - were spent living on her own but certainly not miserably. When she retired she became busy with craft classes, lunch clubs, the President Association and with her two great Cairn terrier companions: first Jody and more recently Rory (pictured right). The dogs kept her active, walking through town in all weathers and making many new friends right up until a few weeks ago. And, of course, with Hazel gone, it was Elsie who provided the support - to her brother-in-law Fred as he grew older and struggled to look after himself in Bullpond Lane. And what of my own personal memories? Well, as a child I loved Christmases at Houghton Road and Elsie was the one who was not only the most fun but she was also the best cook. Her cooking was extraordinary for its time: hand-made Apfelstrudel, exotic pastries and beautifully decorated cakes. And as she got older and I visited her with my two children, Hugh & Maddy, we were always warmly welcomed and she knew just how to look after and entertain them. In addition, she never missed a birthday and always found perfectly judged presents for us all. And to the end, despite increasingly frustrating deafness, she remained sharp, well-informed and extremely pragmatic about everything. So Elsie's story is one of great energy and initiative but with her own ambitions almost always pushed into second place to the needs of others. Elsie was always caring, supportive, determined and independent. We will miss her.

Martin Alabaster & John Hendrie
Martin (pictured, left) is a Commodore in the Royal Navy. His father Alan (while also in the Navy) was killed in the Staines air crash in 1972.
On the right is Alabaster Society member John Hendrie.
To Contents


Alabasters at the Cutting Edge of Technology

Allow me to demonstrate that, our doughty forebears have been ever in the vanguard of invention, as much as in the thick of battle or at the very pinnacle of poetry. Even before the Pope famously banned from use against fellow-Christians the very weapon which gave us our name, Alabasters have been at the cutting edge of technology with a fearsome armoury of cutlery, jewellery, nail-extractors.

Could it be that a German Alabaster may unknowingly have supplied Sweeney Todd with his favourite razor? My grandfather, Arthur Stanley Alabaster, owned a very fine Solingen-made "cut-throat" called a "Retsabala", our surname reversed. What reason might anyone other than an Alabaster have had for using such a name? Would Erwin Rommel have prepared himself to do business with the Eighth Army, grooming his stern visage with a blade designed by an Alabaster? Might not Bernard Montgomery have done likewise on the eve of El Alamein?The inventor of the wheel was in all likelihood a steppe-wandering forebear of ours, surely a bowman of some kind, intent on covering ground easily, the better to shoot a wider variety of game or human enemies and then get away in a hurry after the deed. I cannot yet reveal with any certainty whether the space rocket and the computer were designed by an Alabaster and I have to concede that television may have been invented by a Scotsman, but it seems that our ever-ready wit has often been applied to improving Western Civilization in significant ways. It is only our proverbial modesty which has for so long denied us the glory we deserve. We owe a debt of gratitude to Laraine for having the foresight and the diligence to trawl the murky waters of the British Patents Office to find written evidence of our inventiveness.

Candle holderOne of the earlier records is of a Herbert Alabaster who in 1906, together with one Frederick Knight, submitted an ingenious design for a holder which would automatically adjust to accommodate candles of any size.

Abstract of GB190524180
24,180. Knight, F. W., and Alabaster, H. Nov. 23. Candle holders. - A device for holding candles in candlesticks consists of two spring rings 1, 2, connected at one end and arranged one above the other. The upper spring grips the candle and the lower one expands and grips the inside of the socket. Disclaiming reference is made to Specifications No. 10,362, A.D. 1901, and No. 3239, A.D. 1904.

Three years later in 1909, Edward Percy Alabaster came up with an intriguing device for improving advertising displays, involving a variety of coloured lights brought into play by means of revolving discs, in conjunction with a number of mirrors and filters (picture left). Optical device for advertising and displayWe are now so used to infinitely-variable coloured displays controlled electronically by micro-switches, that it seems all the more remarkable the extent to which people attempted to achieve such variety mechanically.

Abstract of GB190911823
11,823. Alabaster, E. P. May 19. Optical and like toys.-An advertising-device includes a reflector, such that two images or colours, capable of independent variation, are superimposed without blending. The advertisement of a removable stencil or like plate A, Fig. 2, traversed by light which has passed through a revolving disk F, composed of variously coloured segments, is read by reflection from a surface C, composed of horizontal strips of alternate reflecting and transparent media. A vertical reflecting-plate D, which may be of polished, vertically-corrugated metal, enclosed in a case with a coloured roof, and coloured, removable sides, gives a background which is visible through a reflector C. A modification comprises a semi-transparent screen k, Fig. 5, made of fluted glass &c. through which light from a lamp within a coloured rotating drum H passes to give the background at the reflector C. The stencil is carried upon a disk A<1>, which is either stationary or revolvable and is illuminated by lamps J<1> placed beneath a coloured plate F<1>, which may be cut or faceted.
Nail extractor toolThe lamps J<1> may have lightdiffusing shades. A number of the reflecting-surfaces c and their accessory parts may be grouped about a single lamp J. The coloured disk F<1> may be replaced by coloured bands F<2>, Fig. 6, on rollers F<3>, placed behind a stencil A. The reflector C, Fig. 2, may comprise strips of ordinary silvered-glass surface, or parallel distanced strips of metal; or it may be made of finely-grooved glass, silvered, with the silver removed from between each pair of grooves. The advertisement may be transmitted through the plate C, and the background may be reflected.

To those of us sadly accustomed to seeing the huge amount of perfectly usable "waste" material thrown into builders' skips nowadays, it is somewhat chastening to note that, in 1915, in the middle of the Great War that was to destroy Europe, an Alabaster, Sidney Herbert, patented a simple device (right) for the removal of nails from the wooden shuttering used to cast sections of reinforced concrete, so as not to damage the nails.

Abstract of GB191420039
20,039. Alabaster, S. H. Sept. 22. Nail-extractors. - A nail-extractor, particularly useful for extracting the nails from wood framing used in forming reinforced concrete, without bending or damaging the nails, comprises a vertical stand C having a handle B pivoted thereto at b, which handle is pivoted at a to a forked claw lever A having parts a' which are adapted to embrace and slide on guideways c on the stand C and thus move vertically whilst extracting the nails.

Expanding braceletIn 1912, my great-grandfather, Arthur, co-founder of the Birmingham firm of Alabaster and Wilson, goldsmiths, submitted a cunning design for expanding bracelets. How could he have foreseen that, ninety years on, the sons and daughters of Albion would become the fattest people in Europe and in the direst need of every possible expanding device, from trousers to jewellery? Interestingly, his Victorian upbringing is evident in the pains he took in designing the meeting edges of the members so as "to prevent side-play between the members".

Abstract of GB191204962
4962. Alabaster, A. Feb. 28. Bracelets.-In expanding bracelets of the type in which flattened spiral springs are enclosed in box-like links consisting of relativelyslidable parts, the outer member B of each link comprises a one-piece U-shaped member, the legs b<3>, b4 of which are connected by a single transverse screwed pin b<5> and have abutments b<1> for one end of the spring C. The other end of the spring abuts against one end a' of the inner loop-like member A. The meeting edges of the members A, B are bevelled as shown in Figs. 9, 10 to prevent side play between the members.

Sawing machineIn 1920, Sidney Herbert again, together with William Sandell, patented improvements to a reciprocating sawing machine such as the makers of that Hollywood Classic, "The Texas Chainsaw Massacre", would have given serious money to have heard about. Who knows to what depths that cheery tale might have plummetted had such sophistication been at the disposal of the film's principal actors?

Abstract of GB137702
137,702. Alabaster, S. H., and Sandwell, W. D. April 5, 1919. Reciprocating-saw machines.-In a sawing-machine with a reciprocating saw, the feed-mechanism is actuated by a tappet on the saw-frame striking against a lever connected to the feedmechanism. The saw-frame T is pivoted to the reciprocating frame A and pressed against the work by springs E mounted on rods R pivoted to the frame T and carrying nuts V abutting on studs U attached to the frame of the machine. A tappet F on the frame T strikes against a lever G which operates the feed-mechanism through the gearing shown, the tappet F being so arranged that it does not engage with the lever. G until the saw has again reached its normal position after being pressed back by the work. Means are provided whereby the saw can be turned in the frame for cross-cutting and locked in position accordingly.

Mounting blocksIn 1931, the London firm of printers, Alabaster Passmore and Sons patented an improved system to support a surface to receive print, consisting of carefully-arranged wooden blocks, the aim of which would seem to be to ensure a more even pressure was applied over the whole surface.

Abstract of GB358651
358,651. Built-up boards. PASSMORE, A. E. and ALABASTER, PASSMORE, & SONS, Ltd., 64, Cannon Street, London. Aug. 14, 1930, No. 24421. [Class 145 (ii).] Boards for mounting printing surfaces and for other purposes, of the type composed of a plurality of blocks of wood or other non-metallic material between and around which is cast a metal frame, are composed of blocks connected together in predetermined pattern and spacing, and having opposing recesses into which molten metal, alloy, or other hard binding material is run and solidified in situ. The blocks 1 are preferably of prismatic form and of uniform dimensions, and provided with a channel 3 in each edge, with fillets 4 inserted in the channels. The binding material may be cast round the edges of the assembled blocks to form an outer frame, or a separate frame may be applied ; the board may be entirely encased by the binding material.

Insulation material for heat and soundIn 1936, Geoffrey Hubert Alabaster joined forces with John Aubanel in patenting a block built up of layers of corrugated paper interleaved with metal foil to act as an insulation for heat and sound. This was to be encased in a waterproof and fire-resistant material. It sounds rather more eco-friendly than some of the insulating panels and blocks used in present-day construction.

Abstract of GB474150
474,150. Paper. AUBANEL, J. E., and ALABASTER, G. H. April 27, 1936, No. 9328/35. [Classes 96 and 140] [Also in Group XIII] Superimposed sheets of thin crÛped paper of open gauzy texture, preferably fireproofed, enclosed in a waterproof covering, is used as an insulating panel. Interposed sheets of stiffer corrugated material, such as cardboard, may be used to prevent displacement of the packing. A suitable fireproofing solution comprises ammonimn sulphate, boric acid and borax. Specifications 398,205 and 432,274, [both in Group XIII], are referred to.

Collar studsIn 1939, a veteran of the First World War, my grandfather, Arthur Stanley Alabaster, was making sure we'd at least be properly turned out in the event that the Wehrmacht decided to pay a visit. His improved collar-stud design would keep our boys' shirts looking smart. This stud would also be useful for attaching clean shirt-fronts. When Churchill later promised to "fight them on the beaches", the invading forces could be certain of an elegant resistance.

Abstract of GB528771
528,771. Studs. ALABASTER, A. S., (trading as ALABASTER & WILSON). May 15, 1939, No. 14399. [Class 43] A stud for attaching collars to shirts, or for securing shirt fronts, cuffs &c. comprises a head a with pillar b secured to or integral with a tubular guide c, preferably oval in section, in which is slidable a bar e having a knob k at one end, and a head j at the other adapted to fit flush with the open end of the guide c at the base of the pillar b. The bar e is adapted to be locked in one or other of the positions shown by the engagement of a spring-pressed plunger f with one or other of slight depressions h, i in the bar.

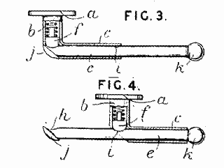
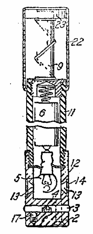
Jig for rotatable toolsThis brings me to the latest item which I have to hand, namely "a device for setting the distance of a workpiece from a rotatable member", submitted for patent in 1959 by Clifford Alabaster. The device incorporated an electrical circuit which would be completed upon achievement of the selected distance and indicated by a light. This would have many important applications in the workshop and possibly on the dance-floor, making for great precision in the more energetic Latin routines perhaps?

Abstract of GB868176
868,176. Jigs. ALABASTER, C. July 7, 1959, No. 23367/59. Class 83 (3). A device for setting the distance of a workpiece from a rotatable member such as a tool spindle, comprises a sleeve 11 of non-conductive material, having a cap 12 screwed thereon, which has four apertures 13, at right-angles to each other, and windows 14 adjacent a bulb 5 connected to a battery 6. Pins 3, 4 at right angles to each other are slidably secured against the cap 12 by a plate 2 screwed thereon, and spring- urged balls 17. The sleeve is connected to a spindle 9 for connection to a drill-chuck, the spindle being surrounded by a further sleeve 22 and slidable in a plate 23 spring-urged against the end of the sleeve. The pin 3 has a length equal to twice the desired distance between the edge of the work and the spindle-axis, plus twice the required tolerance and pin 4 is twice the desired distance minus twice the tolerance. In operation the spindle 9 is inserted in the drill-chuck and the work is moved into contact with one end of the pin 3, thus completing an electric circuit, and a light can be seen through the windows 14. The device is rotated until the opposite end of pin 3 contacts the work and a further light is seen. The device is then rotated until the pin 4 is in contact, the position of the work being adjusted until only one end of the pin 4 contacts the work, but both ends of pin 3 remain in contact, and a light is only visible in three positions. The work can be set to a bi-lateral tolerance equal to one quarter of the difference in lengths of the pins.

Without doubt the story goes on. Where there's a will, there's a way, and that way will probably fall to an Englishman to discover. Alabasters will be there, you may be sure.

Michael Stanley Alabaster

Data supplied from the esp@cenet database:
http://v3.espacenet.com/

Patently obvious

Laraine has now found a further Alabaster invention given provisional patent protection on 27th January 1853. In a month when a Belfast man patents a machinery concept for combing flax,a Belgian comes up with improvements in indicating time, a Woolwich Naval architect designs a twin-stern ship with a protected propeller, a Bayswater man is working on a railway signal idea, and a Birmingham inventor is developing certain improvements in firearms, it takes an Alabaster of Bethnal Green, Charles Henry Alabaster, Hat-Maker, to register an invention for improving ploughs.

As a hat maker Charles Henry Alabaster will have had lots of musing time and also will have provided straw hats for summer demos and therefore probably met a lot of Quakers and other peaceniks, so his contribution would have been part of the Military Hardware to Agricultural Implement conversion. I like to think I have carried on in his spirit.

To Contents


News from Argentina

Jorge Alabaster enjoyed seeing the photos of his relatives we printed in the last issue. He tells me that his maternal grandfather also had a photography studio. Jorge is now 73, a retired telecommunications specialist of Buenos Aires and writes that he has the following family:

His wife, Maria Cristina Alonso, 61, geography teacher
His daughter, Maria Veronica Alabaster, 30, English teacher,
married to Hector Dalgalarrondo.
Two children: Abril, 6 and Matilda, nearly two.

His son:Eduardo Enrique Alabaster, 28,single, architect.

Jorge’s sister is Clyde Ana Maria Alabaster who is 70.
She and her Italian husband Mario Martinese have 13 grandchildren.

Another sister Maria de las Marcedes Alabaster, 61, is married to Alberto Dominguez;
they have two sons, Adrian, 40 and Daniel, 38.

When he was young Jorge lived in La Plata until his father died at the age of 47 – Jorge was 11. The family then moved to San Martin Peia de Buenos Aires, and later to San Andres, a town with a lot of English people involved in the construction of the Retiro-Jose Leon Suarex railway.

His earliest memory was visiting the HMS Ajax and HMS Exeter before the Battle of the River Plate, when the Graf Spee was sunk. He says his father was working at the La Plata YPF distillery and was the official interpreter, having a great deal of international contact. He spoke English fluently and visited the British ships with an officer, and was given a commemorative medal from the Ajax as a souvenir.

The Battle of the River Plate was in 1939, the first major naval battle of World War Two. Ships from the Royal Navy’s South American division took on Germany’s pocket battleship Graf Spee which had successfully been attacking merchant shipping in the South Atlantic. The Ajax, the Exeter, the Cumberland and the Achilles formed this division. The commander reckoned the Graf Spee would attack shipping lines from Argentina and Brazil en route to the UK. Three neutral countries allowed ships to use harbour facilities, Argentina, Uruguay and Brazil. He stationed his four cruisers in the River Plate in Uruguay.

To Contents


Go West, Young Man

Dave West writes from Cambridge:

I believe I may have a part of the puzzle regarding Walter Alabaster West mentioned in Ivor Smith’s article on Branch IV of the Alabaster family.
I am the grandson of Walter. I know very little of his life except that he was a film producer and his father was a master baker.
I would like to be in touch with any members of the family who have more details of the ancestral line.

It is all on this website, of course! RW

To Contents


Latest Members of the Alabaster Society

from Laraine Hake

Since Chronicle No. 25 went to press, we have had six new members join the Society, numbers 180-185. I am taking this opportunity of introducing them to the rest of their Alabaster Society family members. They are: Justin More (IIA), Stephen Street (WofW), Carol Osborne (IIA), Christopher Chambers (IIB), Alan Alabaster (IIIA) and Denise Moreton (IIIA). I have had some gentle amusement in working out how they relate to other, existing members.

Taking a branch at a time…IIA:

Justin lives in London. He has been tracing his family tree for some time and came upon the Alabaster Society website and contacted me through that. He is the grandson of Martha Clara Alabaster (1864-1952), who was herself the daughter of Robert George Alabaster 1830-1915), son of James the publican and Mary Ann Weston. In fact, it was two of Martha Clara’s brothers, John and Robert James who bought Batey & Co in 1882 – see letters page. Justin has said that he may still have some family papers relating to Batey & Co which he will endeavour to sift through when he has the time.
Justin’s closest relations in the Society are: Shirley Rowe of Leigh on Sea, gt granddaughter of James (1826-1892), brother of Robert Georgeand Peter Douglas Alabaster of Birmingham, gt grandson of Edward (1828-1912), brother of Robert George.
Thus Justin, Shirley and Peter are third cousins, since they share a mutual gt gt grandfather in James Alabaster, (1794-1849)

Carol lives near Huntingdon. Carol and I came in contact through Genes Reunited. Her mother, Mary is the daughter of Ellen Elizabeth Alabaster (b.1884). Ellen was the daughter of Edwin Alabaster (1855-1932), son of Thomas Alabaster and Sarah Letitia Lawrence. Carol has given the society several Alabaster Memorial Cards from her family, dating back to the 1930s.
Carol’s closest relations in the Society are: Judith Cash, Sylvia Good, Barry Oram, Michael Oram, Janine Howle and myself, Laraine Hake, all of us being grandchildren of Adeline Bertha Alabaster (1881-1960) the daughter of Thomas (1853-1924), brother of Edwin and Tony Springall, gt grandson of Sarah Alabaster (1859-1940), sister of Edwin.
Thus Carol, Judith, Sylvia, Barry, Michael, Janine, Laraine and Tony are third cousins since they share a mutual gt gt grandfather in Thomas (1828-1889).
Incidentally, Carol and Justin are fourth cousins once removed since the father of Thomas, Charles Henry (1797-1861) was the brother of James so Carol and Justin have a shared 4 x gt grandparents and 3 x gt grandparents respectively in Robert Alabaster and Elizabeth Simpson who were married at St Botolphs, Bishopsgate in 1781, as referred to in my letters page.

What do you mean you are getting confused? Keep up, I will be asking questions later… OK, perhaps a diagram might help –

Unfortunately, after much effort, I found that the tree was far too big to fit on the page, so I guess you will have to give it a go yourself……

At the top, place Robert Alabaster (1757-1821) – he was born in Baylham, Suffolk, not so many miles from Hadleigh where the family had been until a century earlier, but moved to Shoreditch in London by 1783 when there is a record of him paying land taxes on Tenter Ground in Shoreditch, having married Elizabeth Simpson at St Botolphs, Bishopsgate in 1781. Robert was a straw hat maker – in our Alabaster tree we define him as being at the start of the division of the branches of the family. He is the first of Branch IIA.

On the next line put James (1794-1849) and Charles Henry (1797-1861), two of the ten children of Robert and Elizabeth. We often refer to James as “James the publican” because he had the Market House, Finsbury Market for several years, at least from 1824 to 1848. Charles Henry moved to Bethnal Green and was in the business of manufacturing hats, like his father before him.

The next line will show the three sons of James and his first wife, Mary Ann Weston. They were (1) James (1826-1892), gt grandfather of Shirley Rowe, (2) Edward (1828-1912) gt grandfather of Peter Douglas Arthur Alabaster (3) Robert George (1830-1915), gt grandfather of Justin More – our three mutual third cousins!Still on the same line, we have Thomas (1828-1889) one of the twelve children of Charles Henry and his wife, Sarah Mead. Thomas was a carpenter and joiner, marrying Sarah Letitia Lawrence in 1852 in Bethnal Green.

On the next line, we have three of the children of Thomas and Sarah Letita. They are (1) Thomas (1853-1924) gt grandfather of Judith Cash, Sylvia Good, Barry Oram, Janine Howle, Michael Oram and myself, Laraine Hake, (2) Edwin (1855-1932), gt grandfather of Carol Osborne, (3) Sarah Alabaster (1859-1940) gt grandmother of Tony Springall, another eight mutual third cousins.

Did that make it any easier…or would it be better not to ask?

IIB:

Christopher now spends most of his time in Cyprus. He and I were originally in correspondence in July 2000 when Chris contacted me through East of London Family History Society. He is actually an Alabaster connection by a convoluted relationship between Plummers, Pasqualls and Alabasters – even trying to draw this one out made my eyes water, but here goes……in 1878, Henry Alabaster (1849-1890), the son of George Alabaster (1816-1863) and Susannah Kench Rogers, married Annie Plummer (that’s the easy bit). Annie was the daughter of John Henry Plummer whose sister, Nancy Plummer, had married Henry Pasquall in 1866, so Nancy Pasquall, nee Plummer, was Annie’s aunt.
In 1907, Susannah Mary Alabaster, daughter of Henry and Annie, married Henry Pasquall, son of Henry and Nancy...now, Nancy was Annie’s aunt (see above) so Nancy was Susannah’s gt aunt, and Henry Pasquall was Nancy’s cousin making him Susannah Mary’s first cousin, once removed – quite easy, when you put it like that.
Henry and Nancy Pasquall were Christopher’s gt grandparents; their second child, Susan, younger sister of Henry, was Chris’s grandmother. On the 1881 census, Susan Pasquall was 13 years old, living in the home of Henry and Annie Alabaster at 94 Bruce Street, Bromley by Bow, Poplar. Her relationship is given as “niece” but by my calculations she was actually Annie’s first cousin.
I lost touch with Chris until this year when Mary Enifer joined the Alabaster Society. Mary’s grandmother was Margaret Annie Alabaster (1886-1905), fourth child of Henry and Annie Alabaster so younger sister of Susannah Mary. Mary was very keen to get in touch with close relatives. Amongst others, I managed to dig out the past correspondence with Chris. He was pleased to hear from Mary, his 3rd cousin once removed, and decided to join the Alabaster Society too. Michael William Alabaster is the gt grandson of James Alabaster (1842-1894), brother of Henry who married Annie Plummer, so Michael shares George and Susannah Kench as gt gt grandparents with Mary Enifer, making them 3rd cousins – I am not sure how this connects with Christopher but I think it best to leave well alone.

- Incidentally, William Alabaster IIB (1761-1836), grandfather of George, and Robert Alabaster IIA (1757-1821), were brothers --

WofW (William of Woodford Branch):

Stephen lives in Rochford, Essex. He is actually the grandson of John Henry Alabaster whose photograph appeared in Chronicle No.25 as part of 97 Squadron Observers – see Letters page. Stephen and I had been in contact through Genes Reunited previously but he was spurred on to join the Society by hearing his grandfather’s tale of getting in touch with his ex-RAF crew when they met up at Stephen’s brother’s wedding in June. Because Stephen is quite young by the standards of Alabaster Society members, being born in 1971, finding Stephen’s closest relatives in the Society, of the same generation (he already knew about his grandfather) meant I had to go back quite a way to Stephen’s gt gt grandfather, Henry Alabaster (1845-1910). Henry was the son of Thomas Alabaster (1808-1859) and Susannah Lingley – in fact, this Thomas was himself the son of the William Alabaster who was entered in the parish register of St Pancras as “William Alabaster of Woodford, Essex” when he married Mary Plummer in 1806; as we had not been able to trace any Alabaster in Woodford at that time, we ended up naming the whole branch after him….although DNA tests showed that they are definitely of the same stock as all the other branches and I am fairly confident that they are actually descended from Branch I, but I digress - Henry was the son of Thomas Alabaster (1808-1859) and Susannah Lingley. Henry’s older brother, George Alabaster (1840-1897) was the gt gt grandfather of Malcolm Alabaster, Heidi Nevin, Christopher Alabaster and Jean Clifton so they all share Thomas and Susannah as gt gt gt grandparents making them 4th cousins to each other.

IIIA:

Denise lives in Yardley, Birmingham. She is another member with whom I first had contact through the website, Genes Reunited. Denise is the gt granddaughter of Henrietta Florence Alabaster (b. 1870) who was the youngest of the twelve children of Robert Hedges Alabaster (1830-1898) and Sarah Ann Brazier, six boys and six girls. The closest relative of the same generation I could find for Denise is George David Alabaster whose gt grandfather, Roger George Alabaster (1868-1939) was the youngest of Henrietta’s six brothers. Denise and George David share Robert Hedges as their gt gt grandfather so they, too, are 3rd cousins.

Alan lives in Canada. Alan’s claim to fame (or at least one of them) is that, whilst being an Alabaster by male descent, his grandfather decided to change his surname to Crawford – interestingly, changing their surname seems to have been a quirk amongst various members of the Alabaster family on occasion – so Alan can use either. Once again, Alan and I did have some communication a few years ago. I am pleased that he has now decided to join our happy throng. Alan is Branch IIIA, like Denise, but he is descended from the older brother of Robert Hedges Alabaster, that is Walter Goddard Alabaster (1827-1888). Alan’s gt grandfather was Walter John Alabaster (1854-1905). Other members of the same generation are Janet Gillian LeClair and her brothers John Alabaster, Rob Alabaster and sister Susan Alabaster. Like Alan, these four are gt grandchildren of Walter John, so they are Alan’s second cousins. James Christopher Alabaster (Jim) is the gt grandson of William Henry Alabaster (1849-1933), older brother of Walter John. William Henry was also gt grandfather to Susan Maydom and Robert Clifford Alabaster. Another brother of Walter John, Albert Alfred Alabaster (1856-1930) was the gt grandfather of Bryon Alabaster of Canberra, whilst the youngest son of the eleven children of Walter Goddard and Louisa Alabaster (nee Patten), Ernest Thomas Alabaster (1870-1919) was the gt grandfather of Lynn Alabaster who also now lives in Australia. Thus Alan, Janet, John, Rob, Susan Alabaster, Susan Maydom, Robert Clifford, Bryon and Lynn share gt gt grandfather, Walter Goddard Alabaster and are mutual 3rd cousins. Interestingly, this group of cousins are possibly the furthest flung – Alan is in Canada, Janet and Susan are in France, John is in Hong Kong, Bryon and Lynn are in Australia.

Having worked through this little lot, I think I will regard new members in a different light from now on.

Should anybody who has read this far (besides deserving a medal) wish to contact any other member of the Society, do feel free to write to me and I will be very pleased to pass it on so that you can communicate direct in future.

To Contents


Edward   --   James   --   Robert George
Three Brothers Alabaster

An article sent in by Shirley Rowe (IIA) on seeing a photo of Edward Alabaster in Chronicle 25 (p 31). Shirley herself is descended from Edward’s brother James, and she sends information about their younger brother Robert George.

Shirley notes from the 1881 Census that Edward and family are living at 8 Shrubland Grove, Dalston, and adds that in 1855 James and his family were at 6 Shrubland Grove, before moving in 1861 to Navarino Road, a few streets away.

Robert George Alabaster J.P. 1830 -1915
Born: Finsbury Market
Father: James Alabaster
Mother: Mary Ann Weston
Married: Jane More 20-5-1852 St James’s , Shoreditch
Occupation: Mineral Water Manufacturer, Batey & Co Ltd.
Died: 4-1-1915, aged 85, at 54, Amhurst Park.
Buried: family grave Highgate Cemetery plot no 5636
Children: Robert George 22-3-1853 – 23-2-1854
John 12-10-1854 – 12-11-1936
Robert James 1-10-1855 – 10-6-1861
Ernest Edward 1859 – 30-10-1861
Martha Clara 1865 – 22.10.1952
Marriage certificate: Robert George Alabaster, bachelor, 22 years, and licensed victualler of King Edward Street, City of London; son of James.
To Jane More, spinster, 20 years, of Market Street, Finsbury, daughter of John More, Harness-maker.
Witnesses: John More and Mary Ann Alabaster.

From the Hackney Express and Shoreditch Observer:

Whatever becomes of Poor Law administration in the future, due honour should be paid to those who devoted unlimited time and energy, and, in some cases, health and wealth, to advocating and working out the many reforms and improvements which marked the latter Victorian period. Among those Mr Robert George Alabaster J.P. stands out prominently.
Born in Finsbury Market in 1830, he spent the greater part of his life in Shoreditch. His father opened the Market House tavern in 1824, and Mr Alabaster carried on the business until he was bought out by Waterlow’s for their extension in 1873. The incidents of the period evoked his fighting spirit, for when the cross-ways of the market with the pump in the centre were closed up he led the fight in the public interest, an upon the victory in court, he rebuilt his tavern on freehold ground, and served Waterlow’s staff for some years, their immense building covering a large part of the old market area.
In 1857 Mr Alabaster was elected to the first Shoreditch Vestry, and, so far as we know, he is the only surviving member. He took a pretty active part in those lively times when local government was closely mixed up with the affairs of the Parish church, although he never held office at St. Leonard’s.
At the Guardian Board, on which he served continuously from April 1872 to 1901, Mr Alabaster found a more congenial sphere. Three years after his election he became vice-chairman, succeeding to the chair in 1875, an office which he held for seven years, during which time the Infirmary was enlarged and considerably improved.
Mr Alabaster looks back with great satisfaction upon the fact that he took a leading part in the securing of one of the best public servants that Shoreditch has ever had, for it was during his chairmanship that Mr Robert Clay JP, was elected to the office of Chief Clerk of the Board of Guardians.
In his quiet retreat at 54 Amhurst Park, Mr Alabaster recalled to our representative many interesting reminiscences of his fighting days. Soon after he took up Poor Law work, the children of Hackney and Shoreditch were trained and maintained in one establishment, the Brentwood Schools, of which he was Chairman. Friction arose between the two parishes and the Shoreditch members, with the Chairman at their head, were so successful in their appeal to Caesar that Hackney had to pay them out and take over the establishment for the training of their own children.
The step then taken has been of immense benefit to Shoreditch in the long run. During the interim a number of children were located at Harold Wood, whilst the remainder were farmed out with St. George-in-the-East and the Strand Guardians, and an experiment was made with the boarding out of orphan and deserted children.
Great pains were taken in the meantime to get the best system available, and the uniform success which has since attended the training of the children has more than justified the establishment of the Cottage Homes which were amongst the first provided for the Poor Law children of the metropolis. Mr Alabaster led an expedition to Marston Green, where the Birmingham Guardians had already instituted the Cottage Home system, and after purchase of the site at Hornchurch, Cottages and Offices were designed which showed marked improvement on the Marston Green establishment. Mr Alabaster with unremitting energy at the head of the building industry committee led to the Chairmanship of the Cottage Homes Committee, which he held continuously until he retired in 1901, seldom missing a meeting, and devoting the closest attention to every detail of the work.
At the Metropolitan Asylums Board, of which he was for many years a member, Mr Alabaster did equally strenuous work. He served as a nominee of the Local Government Board, and when the opportunity came to an end, he had so gained the confidence of his colleagues that they sent him back as an elected representative. He claims to have taken a leading part in checking a good deal of abuse and extravagance, especially at the Darenth Institution, the cost per patient being reduced from one shilling and a penny halfpenny per day to sixpence halfpenny per day, and the place more efficiently administered.
In 1887 Mr Alabaster was appointed to the Income Tax Commission, of which has for some years been Chairman, and in 1893 he became a Local Magistrate, in which office he has continued to render constant service both at Hackney and Shoreditch. While still a ‘New Broom’ on the Bench, he displayed a good deal of reforming zeal, and led the van in a movement which ended in the removal of the Court from the old cramped premises in Great Prescott Street to the more commodious quarters at the Shoreditch Town Hall.
Although a staunch Conservative, Mr Alabaster has been too busy in administrative work to take much interest in politics. Possessed of an active temperament, he continues his magisterial work so far as health permits. He has outlived many of his contemporaries, but he has the satisfaction of looking back upon a very full and useful life, and while he was still in his prime, his strenuous services were generously recognised by a magnificent presentation of plate and furniture from his fellow citizens.
The Market House Tavern was completely destroyed by bombs on 29th December 1940.
The “Market House Tavern”, Finsbury Market, Shoreditch, was built on Freehold ground by Mr R.G. Alabaster. The original Market House Tavern was opened by Mr James Alabaster in 1824 and was subsequently bought out by Waterlow’s for their extension in 1873 – this extension covered a large part of the old market area.
Finsbury Market 1790 retained the name without any real substance. It consisted of a square block of shops, ground and first floor only, with a wide covered footway all round. Also a four-cross footpath in the centre, with shops and houses on each side. It had a pump in the middle. The shops were nearly all greengrocers, and at no time did the area have a healthy existence.”

To Contents


Dr William Alabaster

Biography

Emily writes proudly at the end of her composition: I am distantly related to William Alabaster.

A biography that Emily wrote for her homework about a special person, and she chose William Alabaster. Hope you will be able to read it, as she wrote it in pencil and of course that does not print out quite so clearly.

Jean thought you would like to see her daughter's handiwork. Fortunately we had reference books handy and they also looked on the internet for more details. The teacher has not been able to mark their efforts yet but when we hear we will let you know how we got on.

Love from Millie and George

NB Emily, the biography on the following page is NOT what you wrote, but I hope you enjoy reading it. Ed.


Some information (with added sound effects and special emphasis for those who like adventurous stuff) lifted and embroidered from Francis J Bremer’s entry in the Oxford Dictionary of National Biography :William Alabaster 1568 – 1640, born in Hadleigh, son of Roger Alabaster and Bridget Winthrop.

After Westminster (sound of small boys playing conkers and singing in the choir ) and then Trinity College, Cambridge, where his Latin tragedy Roxana was thought to have been performed in 1587/8 after a pirated edition had appeared ( A lady fainted. Rustle of skirts. Bump) Alabaster worked on his epic poem, Elisaeis, in praise of Queen Elizabeth, and praised in its turn, though it remained incomplete, by Spenser (sound of specially good poet in sparkly doublet reading Fairy Queen) in 1591. He joined the Earl of Essex on the expedition to Cadiz (probably waves and storm here for a bit, and All Hands on Deck), meeting with Catholics in the captured city there.

Back in England, he had a living in Cornwall (more waves and Beach Boys songs), and while in London he met a Roman Catholic priest living under house arrest, Father Tom Wright. It was hoped the brilliant Alabaster would convert Wright, but the opposite happened. Lots of plots. He was placed under confinement and many important figures attempted to talk him round. This failed, and he “took advantage of loose security to escape the Clink in Southwark.” Possibly some galloping and certainly lots of cloaks flapping. According to the Journals of aldermen of London, a warrant describes him as ’a tall young man about the age of thirty, sallow coloured, long-visadged, lean-faced, black-haired, and speaketh somewhat thick’. He took refuge in Rome, later travelling to Spain (maybe a bullfight scenario ole), and was then captured on his wayback to England, was involved in the trial against Essex in 1601, was pardoned by James I, but re-arrested in 1604, and released again in 1607, when he left for Europe, here publishing OUR BOOK, a work of cabbalistic divinity that was considered by some to be heretical. Lots more plots ensued. When he came back to England in1611, he eventually made peace with the Church of England and was given a living at Therfield, Hertfordshire, preached to the King, got married to the widow Kathryn Fludd. Romantic music..

He was interested in the work of John Dee and others, where the occult , medicine, cabbalism (no, not cannibalism) & alchemy blended.

Sparks, bubble, bubble, cauldrons etc. He was praised for his Latin verse; his style regarded as a forerunner of mannerist or metaphysical expression. His modern reputation is based mostly on his vernacular religious sonnets, which only became widely known incomparatively recent years.
Buried (shovel on stone )in churchyard of St Dunstan in the West.

Samuel Hartlib wrote of him in 1640, the year he died, ‘…a universall scholar of a stupendous memory… an excellent Latinist… Poet. A great Linguist. The best Hebrician in England. Though hee bee Antick and Phantastical in some things in his Caballistic writings yet even in that booke there are many .... excellent notions.’

To Contents


William`s Book

We can see it, we can read it, we just can’t understand it - yet
by Sheelagh Alabaster

With a list of libraries that Tony Springall gave me I wrote to places I thought might be able to help us understand our book.

The libraries with first edition copies of William's book are as follows:-

  • British Library
  • Cambridge University Library
  • Trinity College Cambridge
  • Bodleian Library, Oxford
  • Lambeth Palace Library
  • Yale University Library
  • University of Konstanz Library
  • New York Public Library
  • National Library of Spain, (2 copies)
  • SCC OPAC, Italy
  • Allegheny College Library, Meadville, PA, USA

I wrote to each of them: re William Alabaster`s apparatus in revelationem jesu christi publ.Antwerp 1607, sending them a copy of Tony’s article that we included in our last issue.
The Alabaster Society is a one-name group and has recently purchased a first edition of this work. Your library also has a copy, we believe. Are there any studies based on the work, or has any work been done so far on translation of the book? We are delighted with our book, but none of us has the classics + Hebrew knowledge that would enable us to understand what our ancestor wrote.
I had responses from most of the institutions I wrote to and we have received the following references and recommendations:

  • Author: Caro, Robert V
    Title: WILLIAM ALABASTER; RHETOR, MEDIATOR, DEVOTIONAL POET – I
    Citation: Recusant History [Great Britain] 1988 19(1):62-79ISSN: 0034-1932
  • Author: Caro, Robert V
    Title: WILLIAM ALABASTER; RHETOR, MEDIATOR, DEVOTIONAL POET – II
    Citation: Recusant History [Great Britain] 1988 19(2): 155-170ISSN: 0034-1932
  • D. Sutton, ed. Unpublished Works by William Alabaster (1568-1640)
    (Salzburg Studies in English Literature: Elizabethan and Renaissance Studies 126, 1997)
  • Eleanor Jean Coutts
    The Life and Works of William Alabaster (1568-1640)
    (PhD University of Wisconsin 1957 http://wwwlib.umi.com/dissertations/fullcit/0020230 )
  • G.M.Story (George Morley) 1927 - --A critical edition of the English poems of William Alabaster;
    A biography of William Alabaster 1567-1640/ GM.Story
  • The most recent work on the sonnets is in Alison Shell's excellent book Catholicism, Controversy, and the English Literary Imagination, 1558-1660 (Cambridge : Cambridge University Press, 1999), Ceri Sullivan's article 'The Physiology of Penitence in 1590s Weeping Texts' in Cahiers Elisabethans (57 ), 2000 Apr, xii, 31-47, which looks at his poems in the context of other writing about penitents weeping for their sins, a very popular genre in the 1590s. There is also a good treatment of him in an earlier work, The poetry of meditation : a study in English religious literature of the seventeenth century by Louis Martz, but ONLY in the second edition (1974) - he writes about him at length in the introduction.

We were also sent a copy of the entry in the Oxford Dictionary of National Biography, in Association with the British Academy, ed Matthew And Harrison, Oxford University Press volume 1,p 554-555 which has additional references in its Sources:

  • ‘Alabaster’s conversion’ MSS, English College, Rome.
  • The Sonnets of William Alabaster ed GM Story and H Gardner 1959
  • The Elisaeis of William Alabaster, ed. and trans. M O’Connell,1979
  • The Winthrop papers, ed WC Ford et al 1929
  • L.I.Guiney, The Recusant Poets 1939
  • J.Hacket, Scrinia reserata: a memorial offer’d to the great deservings of John Williams, 1693
  • Private information 2004 from Michael Questier, Ariel Hessayon, Paul Hammer.
  • Old Westminsters Journals of mayor and aldermen of London 24 fol. 296v
  • J.W.Binns, Intellectual Culture in Elizabethan and Jacobean England: the Latin Writings of the Age, 1990

And a very nice reply from Dublin:
The librarian of Trinity College Cambridge passed your letter concerning Alabaster's Apparatus on to me; and passed it on, I am ashamed to say, quite some time ago now. I am afraid, unluckily for you, it landed on my desk only hours before my (then) boyfriend arrived to propose to me, and I hope you can be forbearing about the fact that, in the flurry of getting engaged, your enquiry never found its way into my inbox. It is only now that I have discovered a pile of neglected letters, and am endeavouring to make amends.

First, let me congratulate you on acquiring such a rare and fascinating text. I hope the Alabaster Society is deriving great pleasure from it.

Secondly, I must confess that, although I am finishing a Ph.D. which includes Alabaster in its scope, I can give very little advice on this book. The librarians of Trinity know of my interest in Alabaster because I am working on religious sonnet sequences of the later sixteenth-century, and Alabaster seems to have written some of his sonnets while in residence in the College: you probably know Dana Sutton's Unpublished Works by William Alabaster (1568-1640) (Salzburg ; Oxford : University of Salzburg, 1997), which covers that period in his life. However, although a full-length study of his life and work is something I hope to embark on in the next few years, those few years will have to be employed in the study of Hebrew - amongst other things - before I am qualified to deal with his later writings, such as this one.

I realise that you would like some more immediate advice on the text, but regret to say that - despite enquiries - I cannot find anyone currently working on the book. I am sure you are aware of the scholars working on his sonnets (if not, please allow me to forward you a list). I will continue to enquire, however, and will pass on any information I discover.

I would be glad if I could advise you on other aspects of Alabaster's writing. Please do not hesitate to contact me if you have any questions. And perhaps, when I have made some strides with my Hebrew studies, you will allow me to see your copy of the Apparatus.

With all best wishes,
Deirdre Parsons, School of English, Trinity College, Dublin 2

Sheelagh wrote:
Congratulations. I would like to think it was the arrival on your desk of our enquiry that gave the flurry of butterfly wings that prompted your boyfriend on the other side of the town to rush round and propose to you. Please do forward the list of others working on his sonnets, if you would be so good. I think we Alabasters are all novices when it comes to his writing, apart from knowing that ladies of society fainted clean away when his play was first performed. Yes, please do get back to us when your Hebrew studies are nicely simmering. -----

Deirdre replied:
How kind of you! And yes, I am sure the Alabaster Society played its part! We will be getting married in Trinity College, Cambridge, William A's old stamping ground, so I am sure he will compose us a spectral sonnet too!
The most recent work on the sonnets is in Alison Shell's excellent book Catholicism, controversy, and the English literary imagination, 1558-1660 (Cambridge : Cambridge University Press, 1999), which has a sizeable chunk about him (around p 97, if I remember correctly, but I don't have the book to hand to check) and Ceri Sullivan's article 'The Physiology of Penitence in 1590s Weeping Texts' in Cahiers Elisabethans (57 ), 2000 Apr, xii, 31-47, which looks at his poems in the context of other writing about penitents weeping for their sins, a very popular genre in the 1590s. There is also a good treatment of him in an earlier work, The poetry of meditation : a study in English religious literature of the seventeenth century by Louis Martz, but ONLY in the second edition (1974) - he writes about him at length in the introduction.

I hope this proves of interest. He really is the most fascinating character, as well as being a wonderful writer. Are you descended from him? Lucky you.

All the best,
Deirdre.

I then wrote to Professor Dana Sutton, following the references from both Dublin and from the Lambeth Palace Library, and received this reply:

Dear Ms. Alabaster:
Since I've retired, I very rarely go around to the UC Irvine Dept. of Classics, and so just came across your letter today. Please accept my apologies. I know all about the Alabaster Society because John Alabaster is a kind of pen pal, in fact we even co-edited one document by him.
Like most classicists I don't read a word of Hebrew and so can't make head or tail out of Apparatus in Revelationem Iesu Christi or any of Alabaster's other theological works. On the one hand, he seems to have had an interest in Semitic linguistics. On the other, as I suppose you know, after he converted to Catholicism and went to Rome he got in trouble with the Inquisition for his enthusiasm for Cabbalism, and his step-son was the famous alchemist and mystic Robert Fludd. These facts perhaps hint at the nature of his theological writings. What isn't clear to me is how important a figure he is in the history of modern Semitic language studies.
You need to find somebody who knows Hebrew and also knows something about 17th c. esoteric thought. The only person who might remotely fit this description is C. Lloyd-Jones, author of The Discovery of Hebrew in Tudor England: a Third Language (Manchester, 1983), if you can possibly track him (or her?) down. I'm sorry I can't help you more than that, in fact I'd be very curious to learn a bit about these works myself, and would be very grateful if you would share with me whatever you are able to find out.

My Alabaster stuff can be read online in The Philological Museum, if you want to take a look at it. The URL is www.philological.bham.ac.uk/

Sheelagh wrote:
Dear Dana, That is brilliant - I have just peeped into the Birmingham site - as a Brummie myself and an Alabaster I felt very drawn to it. Fancy being a brilliant scholar and then being able to go and live in California, and then being able to retire and sit and read in the sun. I am fairly content in semi-retirement in misty mucky London, but I may have missed a trick there.

From: "Dana F. Sutton":
Sure, the site can always stand a little publicity.
Given the choice, I'd take London any day. The beer's better, you have access to doner kebabs and we don't, and what's wrong with a bit of mist and muck anyway?
dfs

Now, who is going to take it on from here?I wrote in July to Dr Francis Bremer, who did the Dictionary of Biography entry, but no reply there.
Another suggestion, from Lambeth, was to contact universities that encourage research in theology, such as St David’s, Lampeter.

Links

Links in connection with William's Book: perhaps we should try advertising the possible similarities between it and the Da Vinci Code.................or have I got that completely wrong?! Laraine.

A reminder to mention the web address www.alabaster.org.uk in the Chronicle.
I have no doubt that we have members who have never seen the website and many more who have not looked in for more than a year!

Please see http://www.philological.bham.ac.uk for Dana Sutton`s work on William Alabaster.

To Contents


While we are giving website links…

Pathé News Online

Until 1970 cinemas all over Britain showed Pathé newsreels. Now you can view the entire collection, over 3500 hours, online at http://www.britishpathe.com It is necessary to register, but whilst there is a charge for high-resolution copies of the films you can view low resolution versions free of charge. Almost all are in black and white, and the very earliest footage is silent. The earliest films date from 1896! Pathé display a Top Twenty on their site - the most popular when we checked was a film of the Titanic, but an early favourite of ours is the funeral of Queen Victoria in 1901. 

To Contents